Harry Dole

"…And one day a great and mighty wind will encompass the surface of the earth and wipe clean the scourge of wooly thinking once and for all!" — Time Bandits

Main menu

Skip to content
  • About
  • Catecon
  • Math
  • Event
  • Family
  • Gaming
  • History

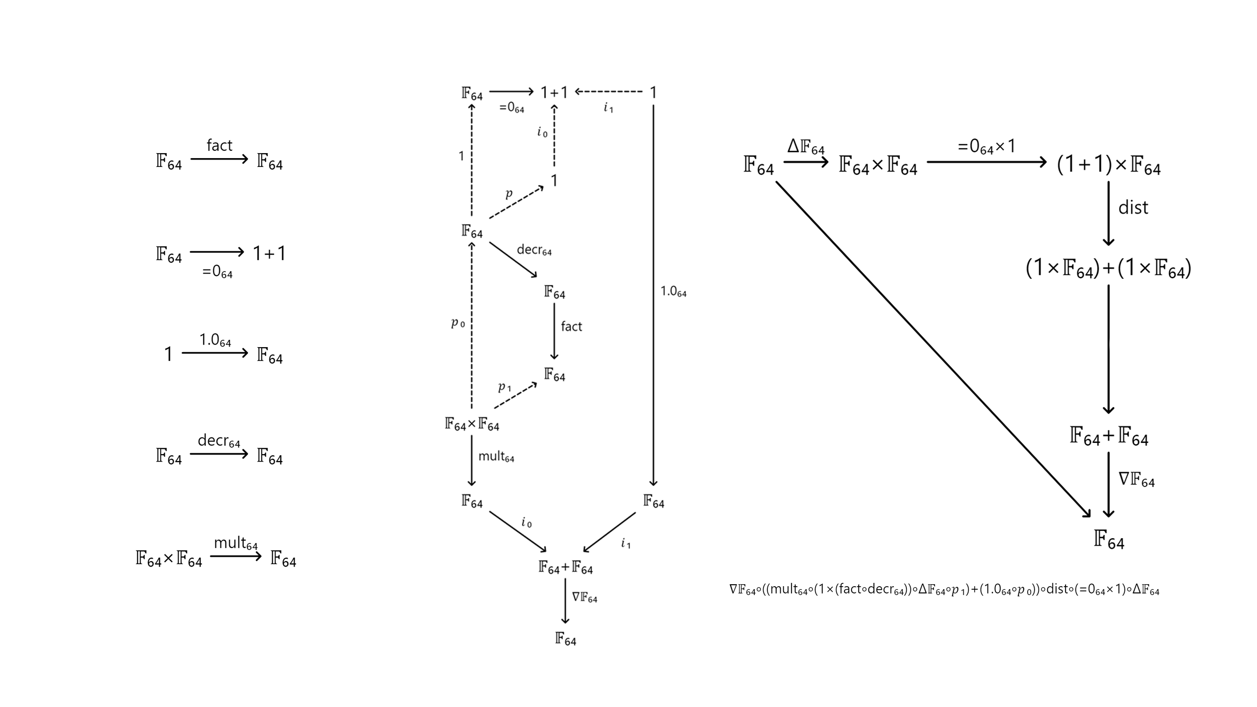
factorial assembly

May 19, 2022  •  2560 × 1440  •  factorial assembly

Post navigation

← Previous Image
Next Image →

Recent Posts

  • Protected: Harry Dole III’s Story
  • Catecon: Identity Is Isomorphism
  • Catecon: Internal Definition of Category
  • Catecon: String Graphs
  • Catecon YouTube Channel

(C) 2017 Harry Dole

The Destin Theme by bavotasan.com.